當前位置:
首頁
>
政務公開
>
財政預決算公開
>
財政惠民惠農資金
>
其他資金信息
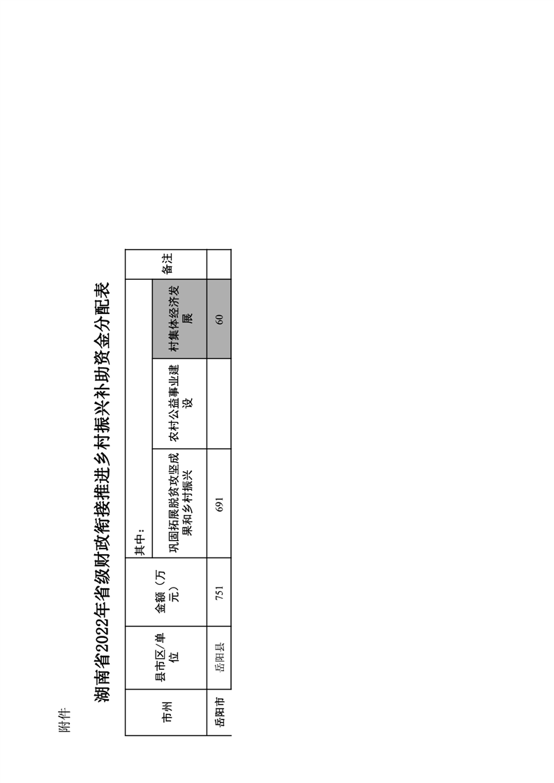
湖南省財政廳關於下達2022年省級財政銜接推進鄉村振興補助資金的通知(湘財預〔2022〕102號)
來源:縣財政局
2022-06-16
瀏覽量:
1
|
|
|
|